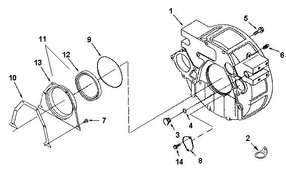
FLYWHEEL, DONGFENG SPARE PARTS CATALOGS
HOME CATALOG > DONGFENG CUMMINS TRUCK PARTS CATALOGUES > DONGFENG CUMMINS 4BT EQB125-20 ENGINE PARTS CATALOGUES >
|
Seq. |
Part Number |
Name |
Qty |
| |
FH 9015-01ZZ |
HOUSING,FLYWHEEL |
1 |
| 飞轮壳组 |
| 1 |
A3904717 |
HOUSING,FLYWHEEL |
1 |
| 飞轮壳 |
| 2 |
A3909670 |
CLIP |
1 |
| 夹子 |
| 3 |
A3910248 |
PLUG,O RING |
1 |
| 塑性堵塞 |
| 4 |
A3910260 |
SEAL,O RING |
1 |
| O 形密封圈 |
| 5 |
A3910540 |
SCREW,HEX FRANGE HEAD CA |
8 |
| 六角法兰面螺栓 |
| 6 |
C3008469 |
PLUG,PIPE |
1 |
| 内六角锥形螺塞 |
| 7 |
C3900627 |
SCREW,HEX FLANGE HEAD |
6 |
| 六角法兰面螺栓 |
| 8 |
C3908095 |
Plate,Cover |
1 |
| 盖板 |
| 9 |
C3912473 |
SEAL,RECTANGULAR RING |
1 |
| 矩形密封圈 |
| 10 |
C3938159 |
GASKET,REAR COVER |
1 |
| 后油封座密封垫 |
| 11 |
C4933323ZZ |
COVER,REAR |
1 |
| 后油封座 |
| 12 |
A3925529 |
SEAL,OIL |
1 |
| 曲轴后油封 |
| 13 |
C3936904 |
Cover,Rear |
1 |
| 后油封座 |
| 14 |
Q150B0816 |
SCREW,HEXAGON HEAD CAP |
2 |
| 六角头螺栓 |
|
Seq. |
Part Number |
Name |
Qty |
| |
FW 9867ZZ |
FLYWHEEL |
1 |
| 飞轮组 |
| 1 |
C3900269 |
Washer,Plain |
4 |
| 平垫圈 |
| 2 |
C3900269 |
Washer,Plain |
4 |
| 平垫圈 |
| 3 |
C3901395 |
Screw,hexagon head cap |
4 |
| 六角头螺栓 |
| 4 |
C3901395 |
Screw,hexagon head cap |
4 |
| 六角头螺栓 |
| 5 |
C3973746 |
FLYWHEEL |
1 |
| 飞轮总成 |
Links: howo parts, sinotruk parts, dongfeng parts