
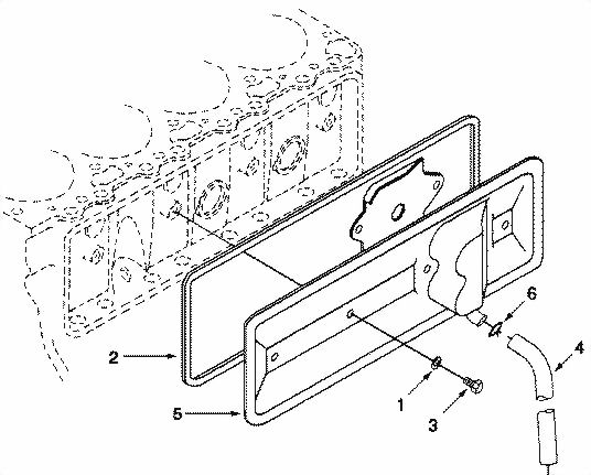
| Seq. | Part Number | Name | Qty |
| CM 9001ZZ | COVER,CAM FOLLOWER | 1 | |
| 推杆室盖组 | |||
| 1 | A3900267 | SEAL,GROMMET | 2 |
| 复合密封圈 | |||
| 2 | A3922078 | GASKET,PUSH ROD COVER | 1 |
| 推杆室盖密封垫 | |||
| 3 | C3900630 | Screw,Hex flange headcap | 2 |
| 六角法兰面螺栓 | |||
| 4 | C3918612 | HOSE,PLAIN | 1 |
| 曲轴箱通风管 | |||
| 5 | C3936188 | COVER,PUSH ROD | 1 |
| 推杆室盖 | |||
| 6 | Q67627B | CLAMP,SPRING HOSE | 1 |
| 卡箍 |

Links: howo parts, sinotruk parts, dongfeng parts



