
| TRANSMISSION ASSY SIX, HW19710, SINOTRUK SPARE PARTS CATALOG | |||
| powered by CHINA HEAVY TRUCK PARTS STORE CO LTD, www.sinotruk-parts-store.com | |||
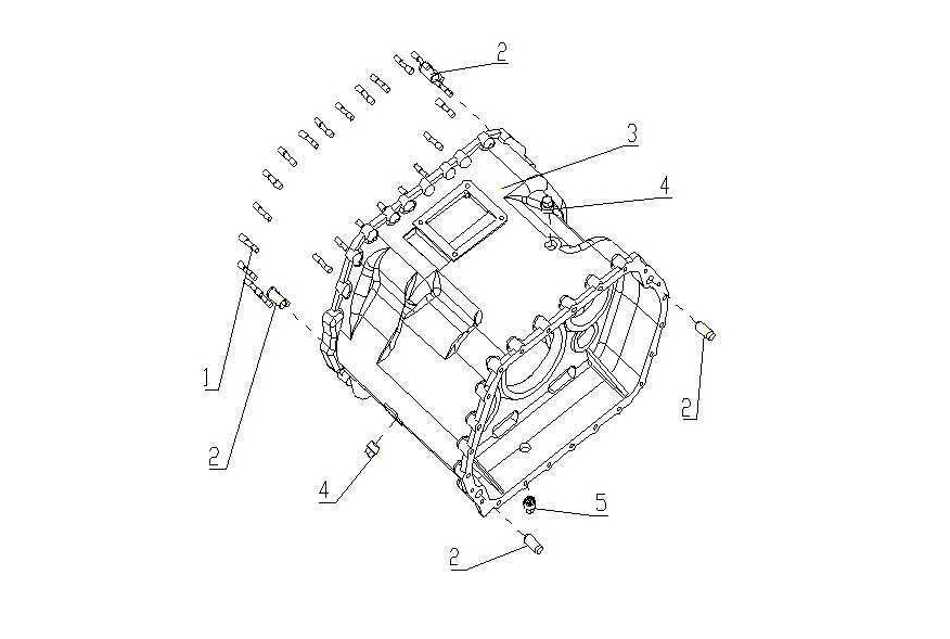
| Serial | Number | Name | Quantity |
| 1 | Q1231035 | column head bolt | 23 |
| 1 | Q1231040 | column head bolt | 2 |
| 2 | AZ2229010001 | positioning pin | 4 |
| 3 | AZ2220010102 | middle shell of transmission | 1 |
| 4 | WG2229010002 | screw plug | 2 |
| 5 | WG2203010002 | drain plug | 1 |

LINKS
SINOTRUK catalogs, SINOTRUK HOWO parts, HOWO catalogs, SINOTRUK parts, HOWO parts



