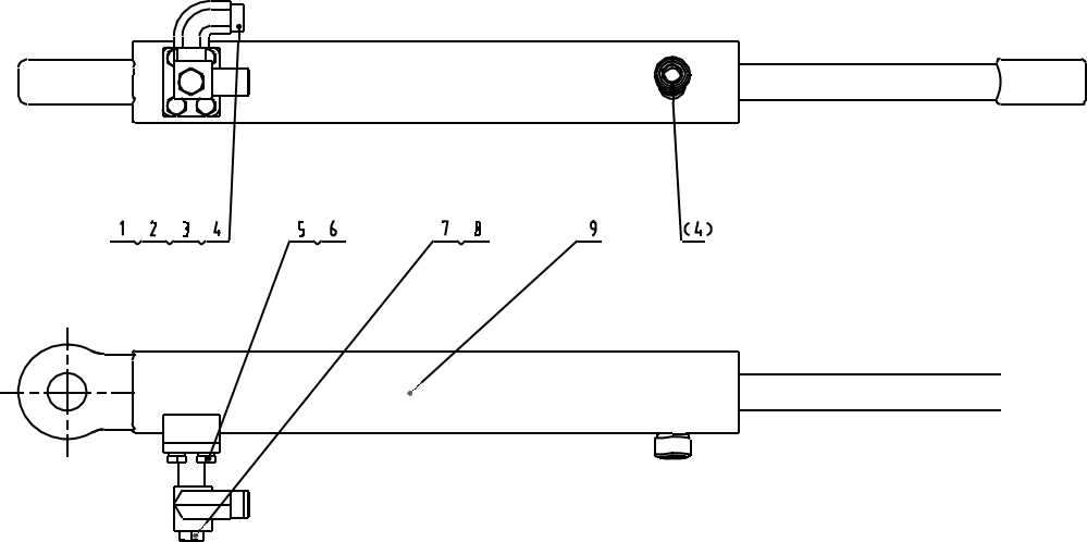
10C0649 000, STEERING CYLINDER-LH AS, LIUGONG PARTS CATALOGUES


| 10C0649 000 左转向油缸总成 STEERING CYLINDER-LH AS | |||||||
|---|---|---|---|---|---|---|---|
| 件号 ITEM |
部件号 PART NO. | 版本 VER |
零件名称 | PART NAME | 数量 Q'TY |
||
| 1 | 15L0006 | 002 | 三通接头 | TEE | 1 | ||
| 2 | 12B0051 | 000 | O 形圈 | O-RING | 1 | ||
| 3 | 12B0370 | 000 | O 形圈 | O-RING | 1 | ||
| 4 | 12B0285 | 000 | O 形圈 | O-RING | 2 | ||
| 5 | 00B0075 | 000 | 螺栓 | BOLT | 4 | ||
| 6 | 06B0348 | 000 | 垫圈 | WASHER | 4 | ||
| 7 | 03B0093 | 002 | 螺塞 | PLUG | 1 | ||
| 8 | 12B0351 | 000 | O 形密封圈 | O-RING | 1 | ||
| 9 | 10K0006 | 001 | 转向油缸 | STEERING CYLINDER | 1 | ||



