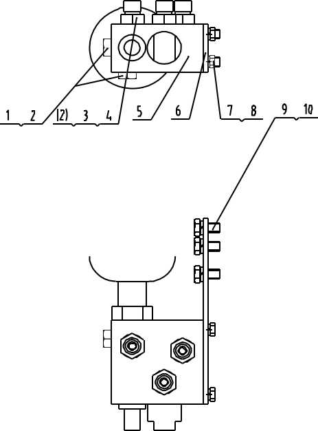
12C1254 001, PILOT OIL SUPPLY VALVE AS, LIUGONG PARTS CATALOGUES


| 12C1254 001 先导供油阀总成 PILOT OIL SUPPLY VALVE AS | ||||||
|---|---|---|---|---|---|---|
| 件号 ITEM |
部件号 PART NO. | 版本 VER |
零件名称 | PART NAME | 数量 Q'TY |
|
| 1 | 05A0669 | 000 | 堵头 | PLUG | 2 | |
| 2 | 12B0351 | 000 | O 形密封圈 | O-RING | 5 | |
| 3 | 00A0228 | 000 | 接头 | CONNECTOR | 3 | |
| 4 | 12B0284 | 000 | O 形圈 | O-RING | 3 | |
| 5 | 12C0857 | 000 | 先导供油阀 | PILOT OIL FEEDING VALVE | 1 | |
| 6 | 12A1784 | 000 | 板 | PLATE | 1 | |
| 7 | 00B0075 | 000 | 螺栓 | BOLT | 4 | |
| 8 | 06B0348 | 000 | 垫圈 | WASHER | 4 | |
| 9 | 00B0056 | 000 | 螺栓 | BOLT | 3 | |
| 10 | 06B0347 | 000 | 垫圈 | WASHER | 3 | |



