DONGFENG CUMMINS 4BT EQB125-20 ENGINE PARTS CATALOGUES
HOME CATALOG > DONGFENG CUMMINS TRUCK PARTS CATALOGUES > DONGFENG CUMMINS 4BT EQB125-20 ENGINE PARTS CATALOGUES >
-
STEERING PUMP, DONGFENG PARTS CATALOGS
-
CLUTCH, DONGFENG CUMMINS PARTS CATALOGS
-
CABLE BRACKET, DONGFENG TRUCK PARTS CATALOGS
-
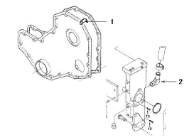
ENGINE BRAKE CONTROL & THERMOSTAT, DONGFENG PARTS CATALOGS
-
CYLINDER HEAD, DONGFENG SPARE PARTS CATALOGS
-
TURBO CHARGER, DONGFENG PARTS CATALOGS
-
STARTER, DONGFENG CUMMINS ENGINE PARTS CATALOGS
-
VALVE COVER, DONGFENG CUMMINS SPARE PARTS CATALOGS
-
WATER PUMP, DONGFENG PARTS CATALOGS
-
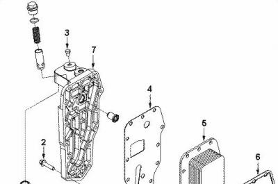
OIL COOLER, GAUGE & PUMP, DONGFENG PARTS CATALOGS
-
CONNECTION AIR TRANSFER, DONGFENG PARTS CATALOGS
-
ENGINE MOUNTING, DONGFENG PARTS CATALOGS



